
Entreprisevendéenne

Paiement100% sécurisé
Infos techniques
Compléments d’informations
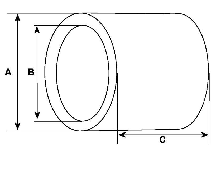
Sur certains démarreurs, les bagues en bronze ou en cuivre peuvent jouer le même rôle que les roulements à billes, grâce à leur excellente résistance aux frottements et à l'usure. Elles permettent le guidage de l'axe du rotor dans le démarreur.
Conseil de pro.
Nous vous conseillons de démonter votre démarreur, puis de vérifier les cotes et les dimensions de la bague de bronze ou en cuivre que vous devez remplacer. Il faut savoir que l'on peut trouver jusqu'à 2 à 4 types de bagues différents sur un démarreur.
Avis clients
