Vous êtes de plus en plus nombreux à nous faire confiance pour vos commandes ! 

Pour continuer à vous garantir un traitement rapide et efficace, il n’y aura désormais plus de standard téléphonique.

Rassurez-vous, notre service client reste disponible par écrit (mail / formulaire) et vous répondra rapidement. 

Merci pour votre compréhension !

Mikatec

>

DÉMARREUR ET SES COMPOSANTS

>

Bague démarreur

>

Bague compatible pour démarreur VALEO 047403

Bague compatible pour démarreur VALEO 047403

Référence : CAO140068-937816

En stock

191TTC
Entreprise basée en Vendée - France

Entreprise
vendéenne

Moyens de paiement 100% sécurisés

Paiement
100% sécurisé

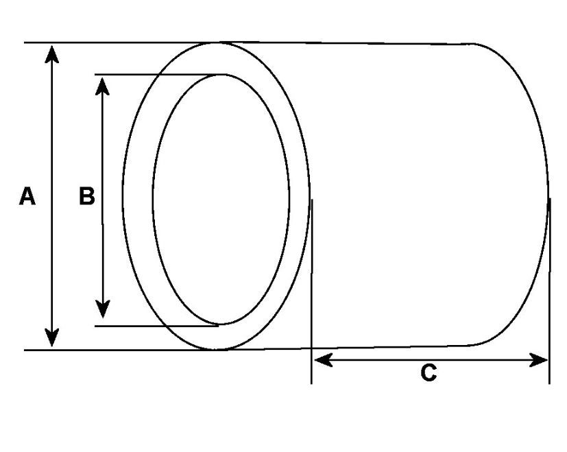
Infos techniques

DI mm
17,05
DE mm
21,05
C - Longueur mm
20,00
Marque
Marque compatible
Matière
Cuivre
Type
Standard
Broche
Sans

 

 

À quoi servent les bagues en bronze ou en cuivre de mon démarreur VALEO 047403 ?

Bagues en bronze ou en cuivre de première qualité.
Bagues en bronze ou en cuivre de première qualité.

 

Sur certains démarreurs, les bagues en bronze ou en cuivre peuvent jouer le même rôle que les roulements à billes, grâce à leur excellente résistance aux frottements et à l'usure. Elles permettent le guidage de l'axe du rotor dans le démarreur.

Conseil de pro.

Nous vous conseillons de démonter votre démarreur, puis de vérifier les cotes et les dimensions de la bague de bronze ou en cuivre que vous devez remplacer. Il faut savoir que l'on peut trouver jusqu'à 2 à 4 types de bagues différents sur un démarreur. 

Bagues pour démarreur de première qualité
Bagues pour démarreur de première qualité

 

Bagues en bronze ou en cuivre de première qualité.