Mikatec

>

DÉMARREUR ET SES COMPOSANTS

>

Démarreur

>

Démarreur compatible pour FARCOM 107082

Démarreur compatible pour FARCOM 107082

Référence : CAO114718-981619

Article en stock sous 2/4 jours

27464TTC
Entreprise basée en France

Entreprise
française

Moyens de paiement 100% sécurisés

Paiement
100% sécurisé

Infos techniques

Voltage
12
Kw
1,4
A - Flasque montage
74,00
H - N° de dents
9
P - Rotation
avec -horaire
N° trous de fixation
2 (0)
Marque
Marque compatible
 

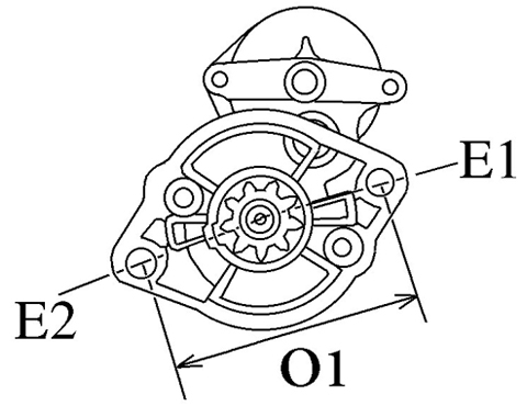
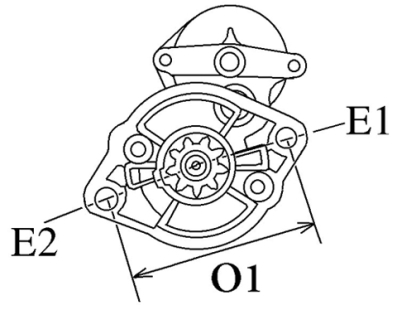
Côtes et dimensions du démarreur pour FARCOM 107082

 

Côtes et dimensions du démarreur
Côtes et dimensions du démarreur
Côtes et dimensions du démarreur
Côtes et dimensions du démarreur

Information Physique

B - Distance lanceur
19.00
E - Trou de montage 2 mm
11.70
E - Trou de montage 1 mm
11.70
F - Distance/arrière
124.00
G - Distance/avant
32.50
I - B+
M8
L - Borne 50
Prise
N - Type couronne
GR
O - Distance mm
113.00
R - Longueur totale mm
188.00

Information Catalogues

Info produit
Reman

L'ensemble des démarreurs proposés sont des produits neufs.

Démarreur-hc-cargo
Démarreur-hc-cargo

 

HC-CARGO est une marque du groupe BOSCH principalement destinée aux professionnels du secteur automobile.

Depuis 1963, HC-CARGO est appréciée non seulement pour la grande qualité de ses produits, mais aussi pour sa réactivité et la fiabilité de ses services.

HC-CARGO garantit la qualité de ses produits en effectuant de nombreux tests de conformité, de manière aléatoire sur leurs lignes de production.

Démarreur HC-Cargo sont garantis 2 ans
Démarreur HC-Cargo sont garantis 2 ans

 

Poltique de garantie.

Nous sommes fiers de la qualité de nos produits, mais vous pouvez être encore plus rassurée, tous les produits de marque HC-CARGO sont garantis 2 ans. 

 

En cas de rupture de stock chez notre fournisseur HC Cargo, nous nous réservons le droit de remplacer le produit par un équivalent d'un autre fournisseur ! (la durée de garantie peut varier). 

Les composants du démarreur.

Démarreur-vue-de-coupe
Démarreur-vue-de-coupe